Jevnt, glatt og tykt sink belegg gjennom teknologisk nyvinning: Kontinuerlig varmgalvanisering prosess.
Ved kjøp av lengder på 90m eller mer, be om tilbud!
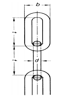
Pris er pr meter. Bruddlast min 12.7 tonn
Vekt er 3 kg pr meter.
d = 13 MM
t = 82
b = 50
CA KG/M 3,0
Prøve last 5 800 KG
Min. bruddlast ved strekk: 114 kN