Produsert i duktilt stål på europeiske, helautomatiske sveisemaskiner, testet iht en 1677-2/3/4 fom 16 mm dia, merket på sporbarhet, leveres med sertifikat en-10204 3.1 VARMGALVANISERT 80-120 MY
Jevnt, glatt og tykt sink belegg gjennom teknologisk nyvinning: Kontinuerlig varmgalvanisering prosess.
Pris er pr meter.
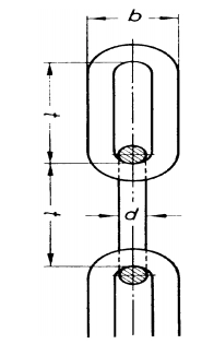
d=6 MM
t= 42
b= 24
CA KG/M 0,7
Min. bruddlast ved strekk: 24 kN
